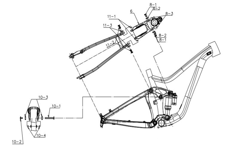
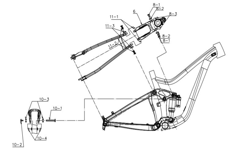
Description du produit
GIANT Rock Arm ensemble de roulements / Trance X E+ MY21
Bascule / Amortisseur supérieur
Caractéristiques
- MarqueGiant
- TypeAmortisseur de vélo
- EtatNeuf
- Numéro du fabricant400.004.077
- Prix neuf d'origineCHF 70.- / Tu économises CHF 19.10
À propos du vendeur
Veloplace
Revendeur vérifié
CHF 50.90CHF 70.-Tu économises CHF 19.10


